

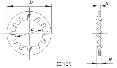
[GB861.1-87内齿锁紧垫圈]
产品描述:
| GB861.1-87内齿锁紧垫圈 | ||||||||||||||||||||||||||||||||||||||||||||||||||||||||||||||||||||||||||||||||||||||||||
|
|
||||||||||||||||||||||||||||||||||||||||||||||||||||||||||||||||||||||||||||||||||||||||||
|
||||||||||||||||||||||||||||||||||||||||||||||||||||||||||||||||||||||||||||||||||||||||||
| 技术条件:材料65Mn; 热处理: HRC40~50;表面氧化处理。 | ||||||||||||||||||||||||||||||||||||||||||||||||||||||||||||||||||||||||||||||||||||||||||
Copyright © 2002-2013 上海慧敬五金机电有限公司 版权所有 Power by DedeCms 联系电话:021-60343027 18721968289 传真号码:021-54847325
DIN471轴用弹性挡圈,DIN472孔用弹性挡圈,弹性销,钢丝螺套



