

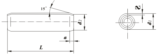
[DIN7343双圈弹性圆柱销标准型]
产品描述:
| DIN7343双圈弹性圆柱销标准型 | ||||||||||||||||||||||||||||||||||||||||||||||||||||||||||||||||||||||||||||||||||||||||||||||||||||||||
![]() |
||||||||||||||||||||||||||||||||||||||||||||||||||||||||||||||||||||||||||||||||||||||||||||||||||||||||
|
||||||||||||||||||||||||||||||||||||||||||||||||||||||||||||||||||||||||||||||||||||||||||||||||||||||||
| 技术条件:材料65Mn; 热处理HRC44~52; 表面氧化处理。 | ||||||||||||||||||||||||||||||||||||||||||||||||||||||||||||||||||||||||||||||||||||||||||||||||||||||||
Copyright © 2002-2013 上海慧敬五金机电有限公司 版权所有 Power by DedeCms 联系电话:021-60343027 18721968289 传真号码:021-54847325
DIN471轴用弹性挡圈,DIN472孔用弹性挡圈,弹性销,钢丝螺套



