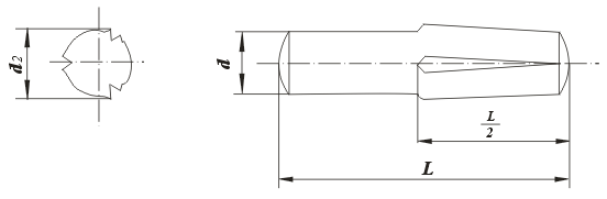
|
d |
L范围 |
d2 |
|
公称(max) |
min |
min |
max |
|
1.5 |
1.475 |
8 |
10 |
+0.05
0 |
1.6 |
|
12 |
20 |
1.63 |
|
2 |
1.975 |
8 |
16 |
2.10 |
|
18 |
30 |
2.15 |
|
2.5 |
2.475 |
8 |
12 |
±0.05 |
2.60 |
|
14 |
20 |
2.65 |
|
22 |
30 |
2.70 |
|
3 |
2.975 |
8 |
12 |
3.10 |
|
14 |
16 |
3.15 |
|
18 |
24 |
3.20 |
|
26 |
40 |
3.25 |
|
4 |
3.97 |
10 |
12 |
4.15 |
|
14 |
20 |
4.20 |
|
22 |
35 |
4.25 |
|
40 |
60 |
4.30 |
|
5 |
4.97 |
10 |
12 |
5.15 |
|
14 |
20 |
5.20 |
|
22 |
35 |
5.25 |
|
40 |
60 |
5.30 |
|
6 |
5.97 |
12 |
16 |
6.15 |
|
18 |
24 |
6.25 |
|
26 |
40 |
6.30 |
|
45 |
80 |
6.35 |
|
8 |
7.964 |
14 |
20 |
8.20 |
|
22 |
24 |
8.25 |
|
26 |
30 |
8.30 |
|
32 |
45 |
8.35 |
|
50 |
75 |
8.40 |
|
80 |
100 |
8.35 |
|
10 |
9.964 |
18 |
24 |
10.20 |
|
26 |
35 |
10.30 |
|
40 |
50 |
10.40 |
|
55 |
90 |
10.45 |
|
95 |
160 |
10.40 |
|
12 |
11.957 |
26 |
30 |
±0.10 |
12.25 |
|
32 |
40 |
12.30 |
|
45 |
55 |
12.40 |
|
60 |
100 |
12.50 |
|
120 |
200 |
12.45 |
|
16 |
15.957 |
26 |
30 |
16.25 |
|
32 |
40 |
16.30 |
|
45 |
55 |
16.40 |
|
60 |
100 |
16.50 |
|
120 |
200 |
16.45 |
|
20 |
19.948 |
26 |
35 |
20.25 |
|
40 |
45 |
20.30 |
|
50 |
55 |
20.40 |
|
60 |
120 |
20.50 |
|
140 |
200 |
20.45 |
|
25 |
24.948 |
26 |
35 |
25.25 |
|
40 |
45 |
25.30 |
|
50 |
55 |
25.40 |
|
60 |
120 |
25.50 |
|
140 |
200 |
25.45 |
|